Приказ Инспекции государственной охраны объектов культурного наследия Оренбургской области от 23.11.2023 № 01-08-703
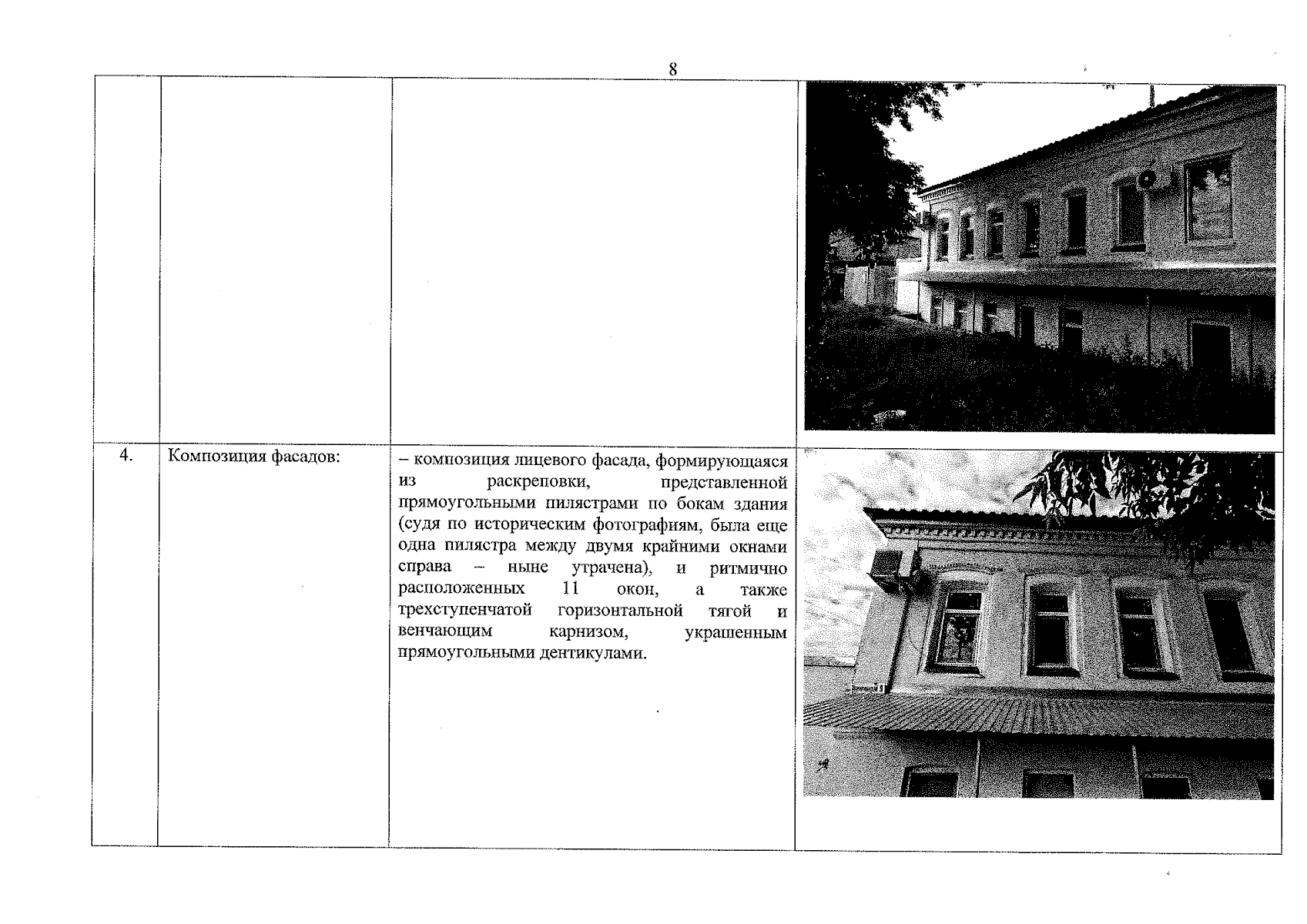
"О включении выявленного объекта культурного наследия в единый государственный реестр объектов культурного наследия (памятников истории и культуры) народов Российской Федерации в качестве объекта культурного наследия регионального значения (вид – памятник) "1-е Мусульманское женское городское училище г. Оренбурга Багбустан Мукминовой (Дом М.С. Спицына)", последняя треть XIX века, (Оренбургская область, г. Оренбург, пер. Трофимовский, 9, Литера А), об утверждении предмета охраны, границ и режима использования территории объекта культурного наследия"
(Зарегистрирован 23.11.2023 № 0455/2023/22)
"О включении выявленного объекта культурного наследия в единый государственный реестр объектов культурного наследия (памятников истории и культуры) народов Российской Федерации в качестве объекта культурного наследия регионального значения (вид – памятник) "1-е Мусульманское женское городское училище г. Оренбурга Багбустан Мукминовой (Дом М.С. Спицына)", последняя треть XIX века, (Оренбургская область, г. Оренбург, пер. Трофимовский, 9, Литера А), об утверждении предмета охраны, границ и режима использования территории объекта культурного наследия"
(Зарегистрирован 23.11.2023 № 0455/2023/22)
Номер опубликования: 5601202311290014
Дата опубликования:
29.11.2023
