Приказ Инспекции государственной охраны объектов культурного наследия Оренбургской области от 10.10.2023 № 01-08-556
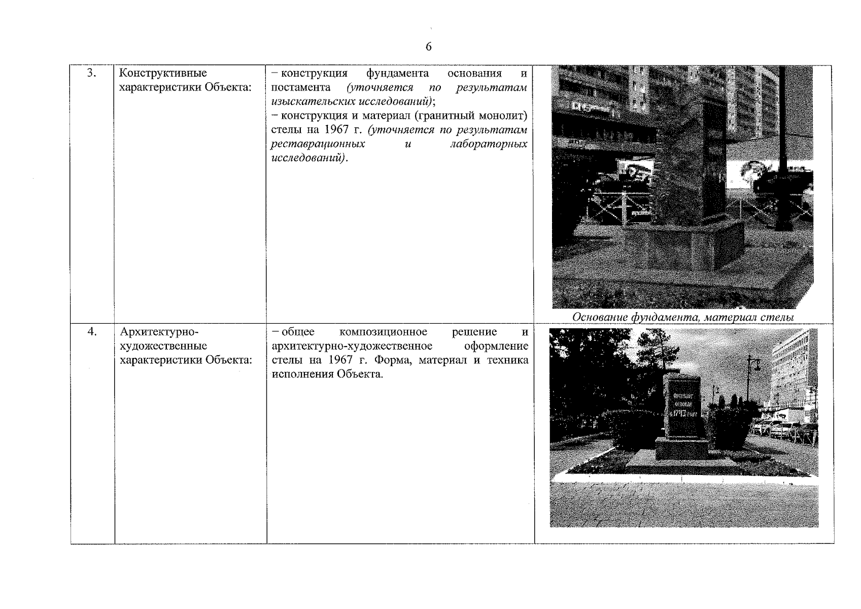
"Об утверждении предмета охраны объекта культурного наследия регионального значения (вид – памятник) "Стела, установленная в честь основания в 1743 году города Оренбурга" (Оренбургская обл., г. Оренбург, ул. Советская / ул. Краснознаменная)"
(Зарегистрирован 10.10.2023 № 0345/2023/22)
"Об утверждении предмета охраны объекта культурного наследия регионального значения (вид – памятник) "Стела, установленная в честь основания в 1743 году города Оренбурга" (Оренбургская обл., г. Оренбург, ул. Советская / ул. Краснознаменная)"
(Зарегистрирован 10.10.2023 № 0345/2023/22)
Номер опубликования: 5601202310130007
Дата опубликования:
13.10.2023
