Приказ Инспекции государственной охраны объектов культурного наследия Оренбургской области от 18.09.2023 № 01-08-515
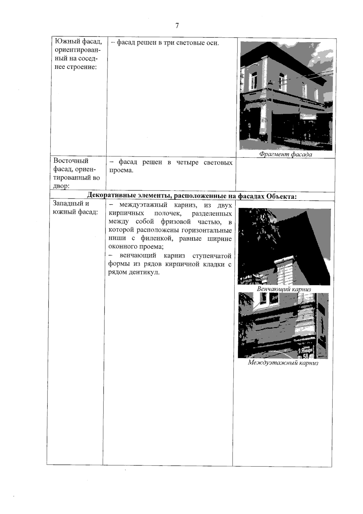
"Об утверждении предмета охраны объекта культурного наследия регионального значения (вид – памятник) "Дом купца Н.А. Смочилина. Кирпичный стиль", конец XIX века (входит в состав ансамбля "Усадьба Н.А. Смочилина") (Оренбургская обл., г. Оренбург, ул. 9 Января, 58)"
(Зарегистрирован 18.09.2023 № 0323/2023/22)
"Об утверждении предмета охраны объекта культурного наследия регионального значения (вид – памятник) "Дом купца Н.А. Смочилина. Кирпичный стиль", конец XIX века (входит в состав ансамбля "Усадьба Н.А. Смочилина") (Оренбургская обл., г. Оренбург, ул. 9 Января, 58)"
(Зарегистрирован 18.09.2023 № 0323/2023/22)
Номер опубликования: 5601202309210012
Дата опубликования:
21.09.2023
