Официальное опубликование правовых актов
ОФИЦИАЛЬНОЕ ОПУБЛИКОВАНИЕ
Приказ Инспекции государственной охраны объектов культурного наследия Оренбургской области от 18.09.2023 № 01-08-524
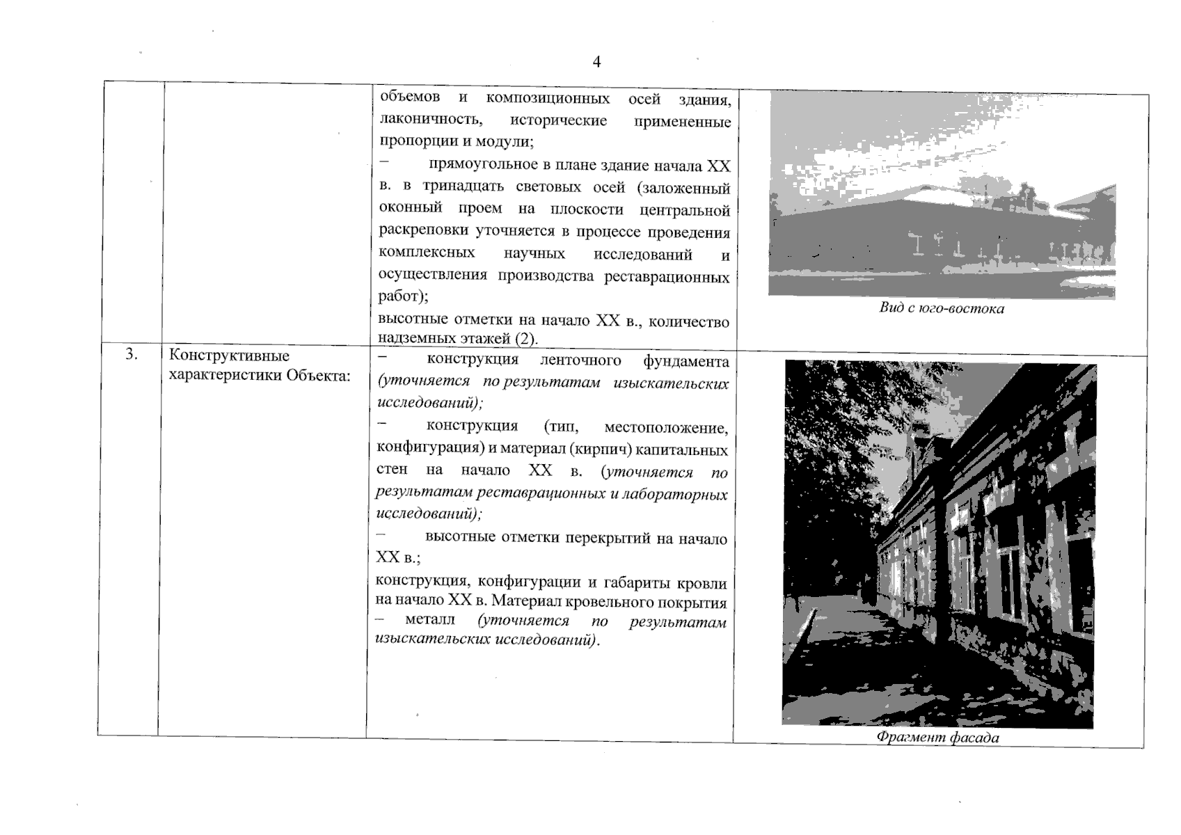
"Об утверждении предмета охраны объекта культурного наследия регионального значения (вид – памятник) "2-е городское училище", 1902–1905 гг., (Оренбургская обл., г. Оренбург, проезд Коммунаров, 16)"
(Зарегистрирован 18.09.2023 № 0332/2023/22)
Номер опубликования: 5601202309210009
Дата опубликования: 21.09.2023
Страница №4 из 9:
Увеличить