Официальное опубликование правовых актов
ОФИЦИАЛЬНОЕ ОПУБЛИКОВАНИЕ
Приказ Инспекции государственной охраны объектов культурного наследия Оренбургской области от 10.08.2023 № 01-08-425
"О включении выявленного объекта культурного наследия в единый государственный реестр объектов культурного наследия (памятников истории и культуры) народов Российской Федерации, об утверждении предмета охраны, границ и режима использования территории объекта культурного наследия"
(Зарегистрирован 10.08.2023 № 0271/2023/22)
Номер опубликования: 5601202308110008
Дата опубликования: 11.08.2023
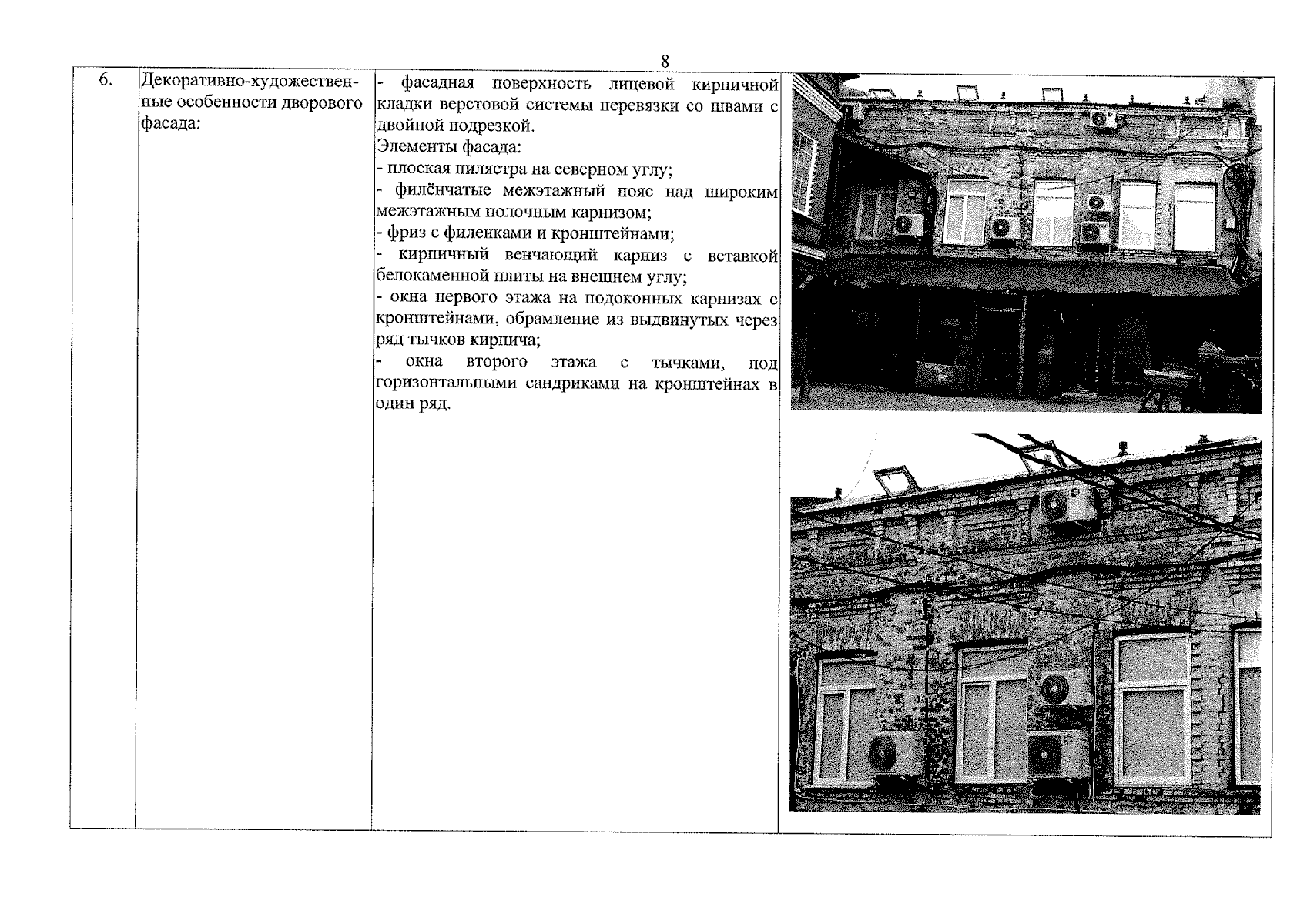
Страница №8 из 14:
Увеличить