Официальное опубликование правовых актов
ОФИЦИАЛЬНОЕ ОПУБЛИКОВАНИЕ
Приказ Инспекции государственной охраны объектов культурного наследия Оренбургской области от 26.07.2023 № 01-08-303
"Об утверждении предмета охраны, границ и режима использования территории объекта культурного наследия регионального значения "Дом жилой Т.В.Фадеевой", 2-я половина XIX в. (Оренбургская область, город Бугуруслан, ул. Революционная, д 16/ул. Фрунзе, д. 106, литера Е)"
(Зарегистрирован 26.07.2023 № 0177/2023/22)
Номер опубликования: 5601202307270025
Дата опубликования: 27.07.2023
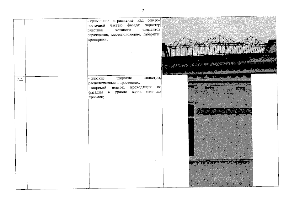
Страница №7 из 20:
Увеличить