Официальное опубликование правовых актов
ОФИЦИАЛЬНОЕ ОПУБЛИКОВАНИЕ
Приказ Инспекции государственной охраны объектов культурного наследия Оренбургской области от 25.07.2023 № 01-08-289
"Об утверждении предмета охраны, границ и режима использования территории объекта культурного наследия регионального значения "Дом купца А.Ф. Маца", (Оренбургская обл., г. Орск, ул. Шевченко, д. 44 / ул. С. Разина, д. 91)"
(Зарегистрирован 25.07.2023 № 0164/2023/22)
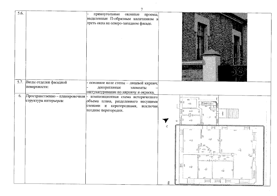
Номер опубликования: 5601202307270013
Дата опубликования: 27.07.2023
Страница №7 из 11:
Увеличить