Официальное опубликование правовых актов
ОФИЦИАЛЬНОЕ ОПУБЛИКОВАНИЕ
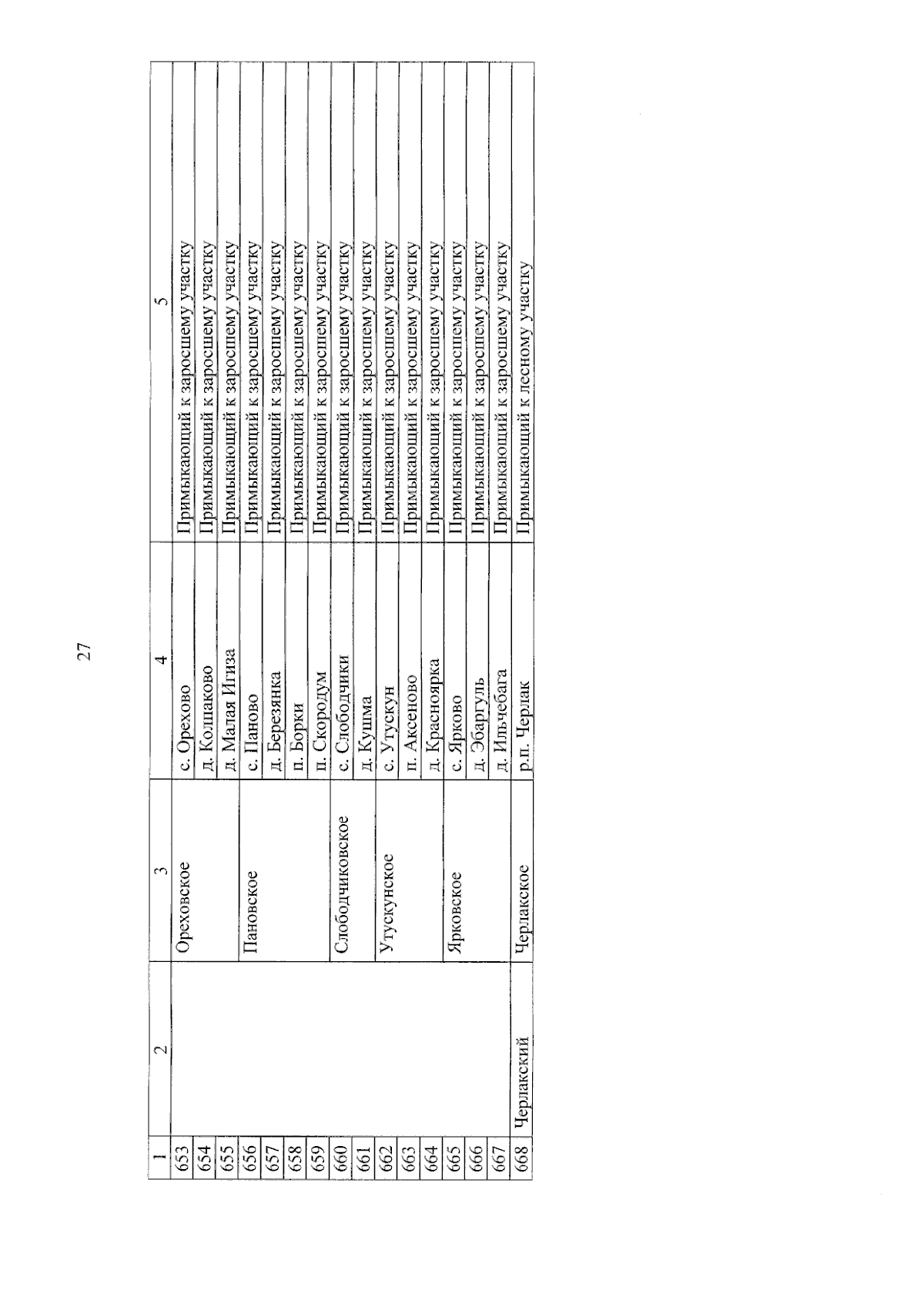
Приказ Министерства региональной безопасности Омской области от 27.10.2023 № 38-п
"Об утверждении перечней населенных пунктов и территорий, подверженных угрозе ландшафтных (природных) пожаров в 2024 году"
(Зарегистрирован 27.10.2023 № 1756)
Номер опубликования: 5501202310310006
Дата опубликования: 31.10.2023
Страница №29 из 37:
Увеличить