Официальное опубликование правовых актов
ОФИЦИАЛЬНОЕ ОПУБЛИКОВАНИЕ
Приказ Министерства экономики Омской области от 22.12.2022 № 89
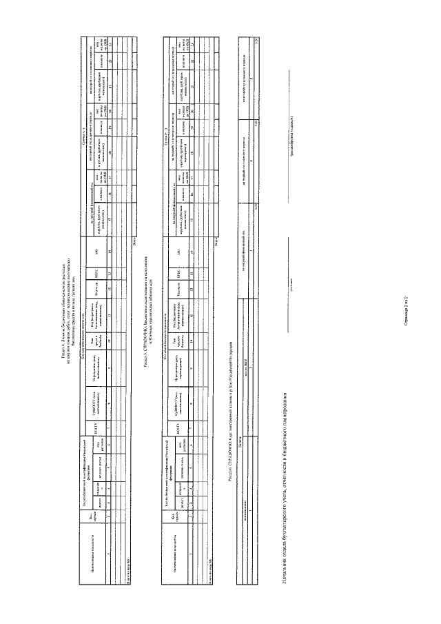
"Об утверждении Порядка составления, утверждения и ведения бюджетной сметы Министерства экономики Омской области и признании утратившим силу приказа Министерства экономики Омской области от 21 декабря 2016 года № 90"
Номер опубликования: 5501202212220024
Дата опубликования: 22.12.2022
Страница №7 из 9:
Увеличить