Официальное опубликование правовых актов
ОФИЦИАЛЬНОЕ ОПУБЛИКОВАНИЕ
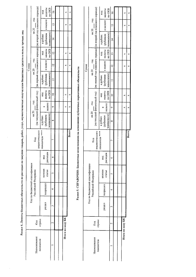
Приказ Министерства финансов Омской области от 13.02.2019 № 12
"Об утверждении Порядка составления, утверждения и ведения бюджетных смет Министерства финансов Омской области и подведомственного ему казенного учреждения Омской области"
Номер опубликования: 5501201902130007
Дата опубликования: 13.02.2019
Страница №35 из 36:
Увеличить