Официальное опубликование правовых актов
ОФИЦИАЛЬНОЕ ОПУБЛИКОВАНИЕ
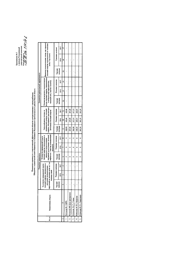
Приказ Региональной энергетической комиссии Омской области от 27.10.2015 № 350/61
"Об утверждении инвестиционной программы Общества с ограниченной ответственностью "Тепловик" Называевского муниципального района Омской области в сфере теплоснабжения на 2016 год"
Номер опубликования: 5501201510290001
Дата опубликования: 29.10.2015
Страница №4 из 5:
Увеличить