Официальное опубликование правовых актов
ОФИЦИАЛЬНОЕ ОПУБЛИКОВАНИЕ
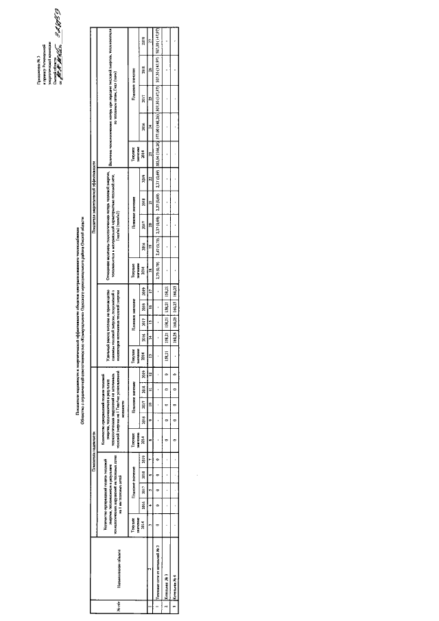
Приказ Региональной энергетической комиссии Омской области от 20.10.2015 № 328/59
"Об утверждении инвестиционной программы Общества с ограниченной ответственностью "Коммунальник" Одесского муниципального района Омской области в сфере теплоснабжения на 2016 - 2018 годы"
Номер опубликования: 5501201510220008
Дата опубликования: 22.10.2015
Страница №4 из 5:
Увеличить