Официальное опубликование правовых актов
ОФИЦИАЛЬНОЕ ОПУБЛИКОВАНИЕ
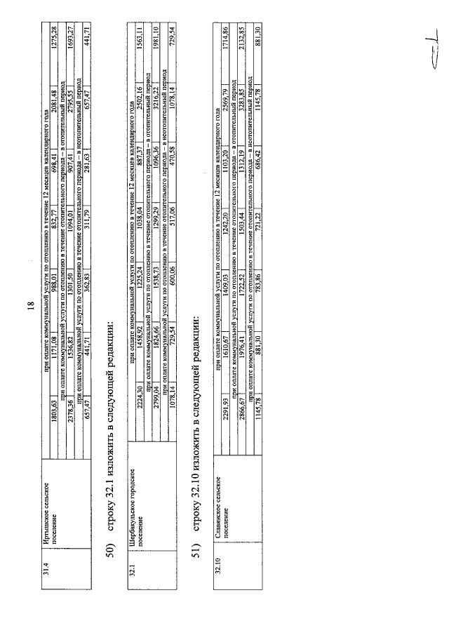
Постановление Правительства Омской области от 26.08.2015 № 230-п
"О внесении изменений в постановление Правительства Омской области от 29 апреля 2015 года № 103-п"
Номер опубликования: 5500201508270001
Дата опубликования: 27.08.2015
Страница №38 из 38:
Увеличить