Официальное опубликование правовых актов
ОФИЦИАЛЬНОЕ ОПУБЛИКОВАНИЕ
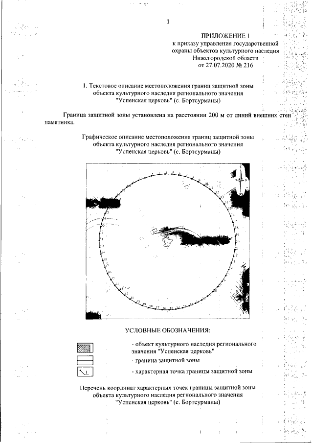
Приказ Управления государственной охраны объектов культурного наследия Нижегородской области от 27.07.2020 № 216
"Об утверждении описания местоположения границ защитных зон объектов культурного наследия, расположенных на территории Пильнинского района Нижегородской области, режима использования земель в границах защитных зон объектов культурного наследия"
(Зарегистрирован 11.08.2020 № 15389-518-216)
Номер опубликования: 5201202008130008
Дата опубликования: 13.08.2020
Страница №4 из 55:
Увеличить