Официальное опубликование правовых актов
ОФИЦИАЛЬНОЕ ОПУБЛИКОВАНИЕ
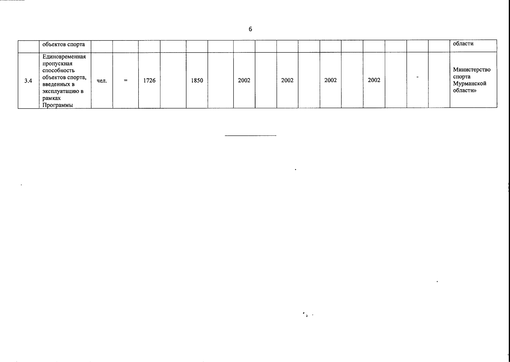
Постановление Правительства Мурманской области от 01.02.2024 № 35-ПП
"О внесении изменений в государственную программу Мурманской области "Физическая культура и спорт"
Номер опубликования: 5100202402050005
Дата опубликования: 05.02.2024
Страница №7 из 7:
Увеличить