Официальное опубликование правовых актов
ОФИЦИАЛЬНОЕ ОПУБЛИКОВАНИЕ
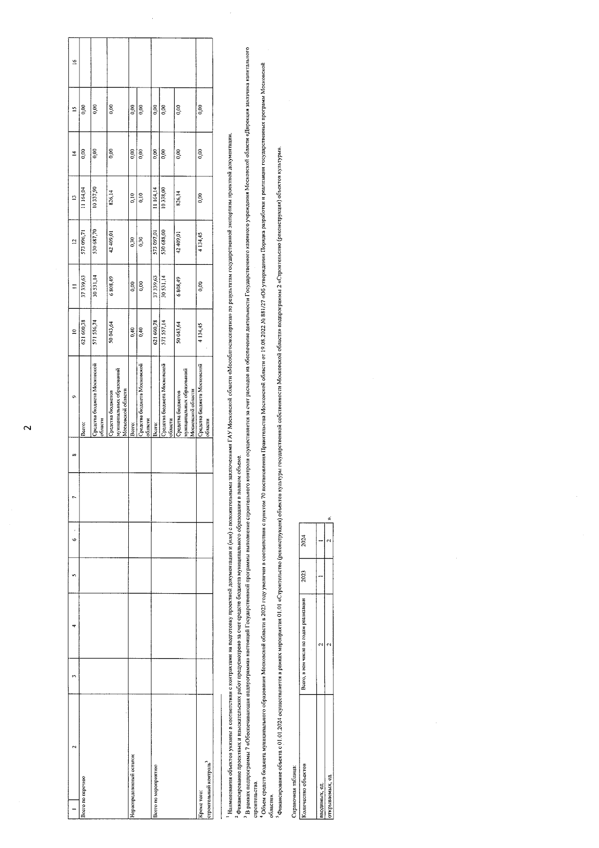
Постановление Правительства Московской области от 18.12.2024 № 1595-ПП
"О внесении изменений в государственную программу Московской области "Строительство и капитальный ремонт объектов социальной инфраструктуры" на 2023-2027 годы"
Номер опубликования: 5000202412250012
Дата опубликования: 25.12.2024
Страница №64 из 176:
Увеличить