Официальное опубликование правовых актов
ОФИЦИАЛЬНОЕ ОПУБЛИКОВАНИЕ
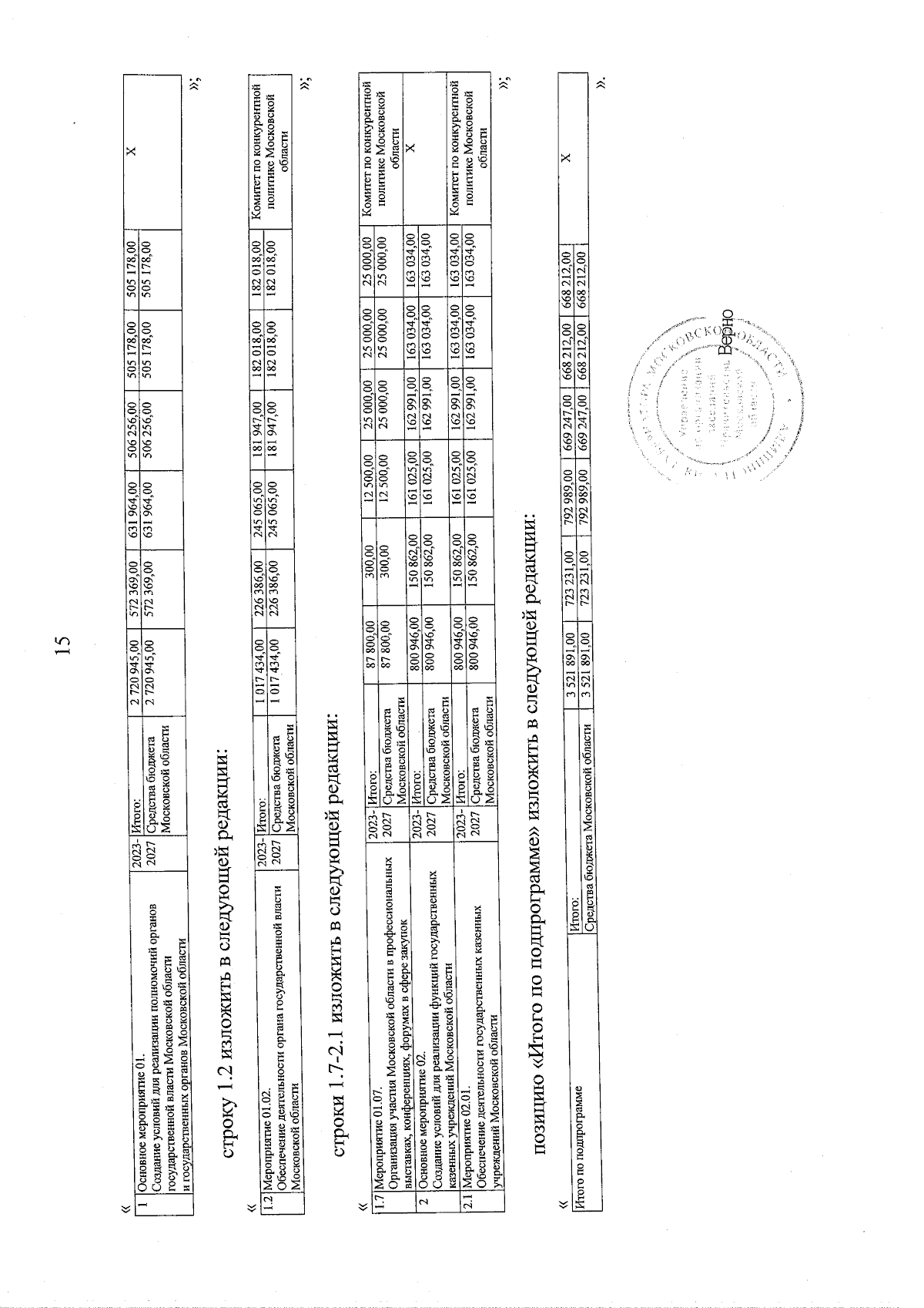
Постановление Правительства Московской области от 16.12.2024 № 1569-ПП
"О внесении изменений в государственную программу Московской области "Предпринимательство Подмосковья" на 2023-2027 годы"
Номер опубликования: 5000202412230001
Дата опубликования: 23.12.2024
Страница №17 из 17:
Увеличить