Официальное опубликование правовых актов
ОФИЦИАЛЬНОЕ ОПУБЛИКОВАНИЕ
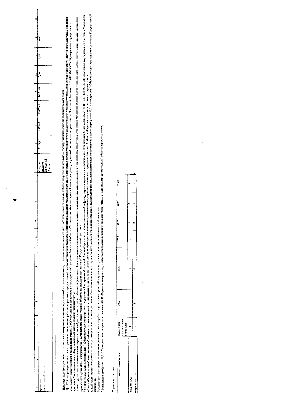
Постановление Правительства Московской области от 10.12.2024 № 1535-ПП
"О внесении изменений в государственную программу Московской области "Строительство и капитальный ремонт объектов социальной инфраструктуры" на 2023-2027 годы"
Номер опубликования: 5000202412190002
Дата опубликования: 19.12.2024
Страница №10 из 13:
Увеличить