Официальное опубликование правовых актов
ОФИЦИАЛЬНОЕ ОПУБЛИКОВАНИЕ
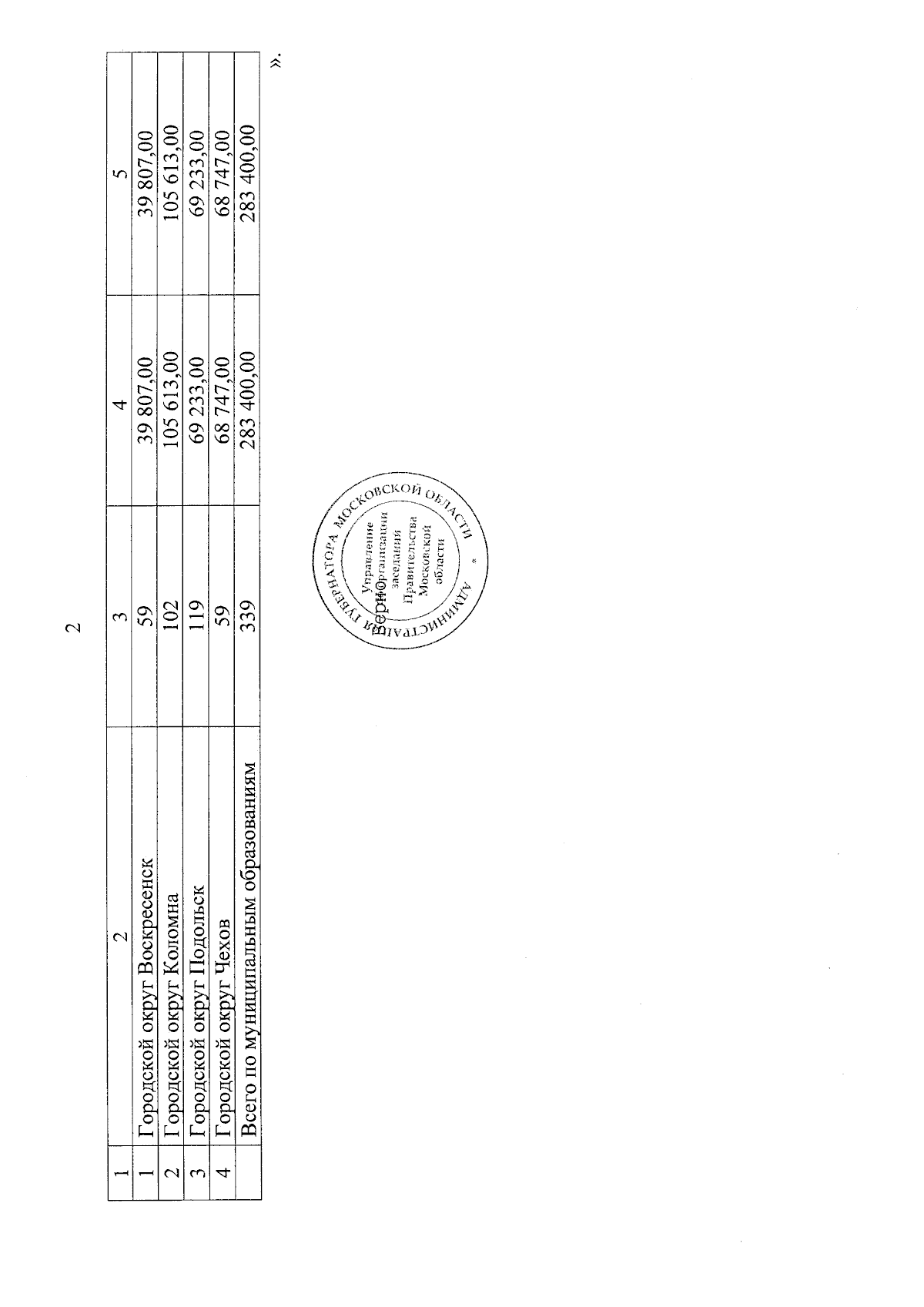
Постановление Правительства Московской области от 21.06.2024 № 636-ПП
"О внесении изменения в государственную программу Московской области "Управление имуществом и финансами Московской области" на 2023-2028 годы"
Номер опубликования: 5000202406250004
Дата опубликования: 25.06.2024
Страница №4 из 4:
Увеличить