Официальное опубликование правовых актов
ОФИЦИАЛЬНОЕ ОПУБЛИКОВАНИЕ
Постановление Правительства Московской области от 15.02.2024 № 124-ПП
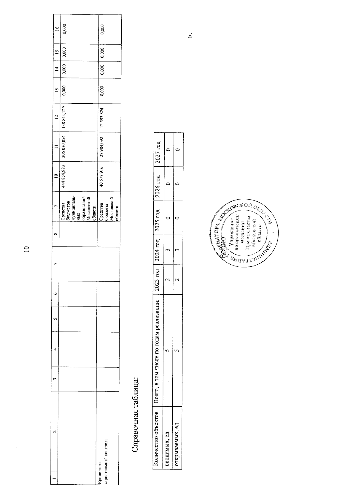
"О распределении бюджетных ассигнований бюджета Московской области и внесении изменений в государственную программу Московской области "Развитие и функционирование дорожно-транспортного комплекса" на 2023-2027 годы"
Номер опубликования: 5000202402210003
Дата опубликования: 21.02.2024
Страница №13 из 13:
Увеличить