Официальное опубликование правовых актов
ОФИЦИАЛЬНОЕ ОПУБЛИКОВАНИЕ
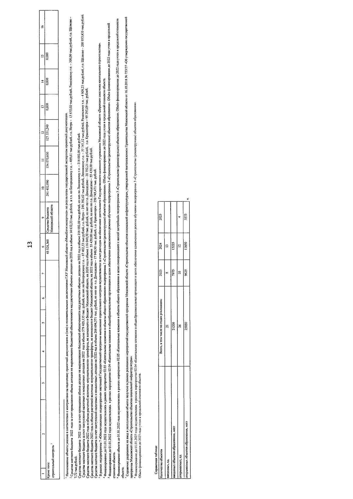
Постановление Правительства Московской области от 01.02.2024 № 70-ПП
"О распределении бюджетных ассигнований бюджета Московской области и внесении изменений в государственную программу Московской области "Строительство объектов социальной инфраструктуры" на 2023-2027 годы"
Номер опубликования: 5000202402090006
Дата опубликования: 09.02.2024
Страница №126 из 148:
Увеличить