Официальное опубликование правовых актов
ОФИЦИАЛЬНОЕ ОПУБЛИКОВАНИЕ
Постановление Правительства Московской области от 12.04.2023 № 201-ПП
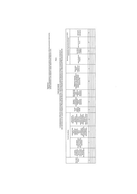
"О ведении регионального реестра незавершенных объектов капитального строительства, принятии управленческих решений и внесении изменений в них в отношении объектов незавершенного строительства, включенных в региональный реестр, и о внесении изменений в Положение о Министерстве строительного комплекса Московской области"
Номер опубликования: 5000202304130007
Дата опубликования: 13.04.2023
Страница №7 из 22:
Увеличить