Официальное опубликование правовых актов
ОФИЦИАЛЬНОЕ ОПУБЛИКОВАНИЕ
Постановление Правительства Московской области от 09.06.2022 № 591/17
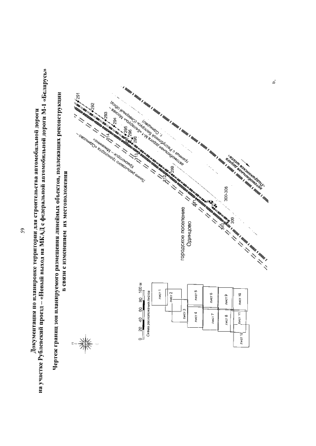
"Об утверждении изменений в документацию по планировке территории для строительства автомобильной дороги на участке Рублевский проезд — "Новый выход на МКАД с федеральной автомобильной дороги М-1 "Беларусь"
Номер опубликования: 5000202206100003
Дата опубликования: 10.06.2022
Страница №62 из 140:
Увеличить