Официальное опубликование правовых актов
ОФИЦИАЛЬНОЕ ОПУБЛИКОВАНИЕ
Постановление Правительства Магаданской области от 13.10.2022 № 806-пп
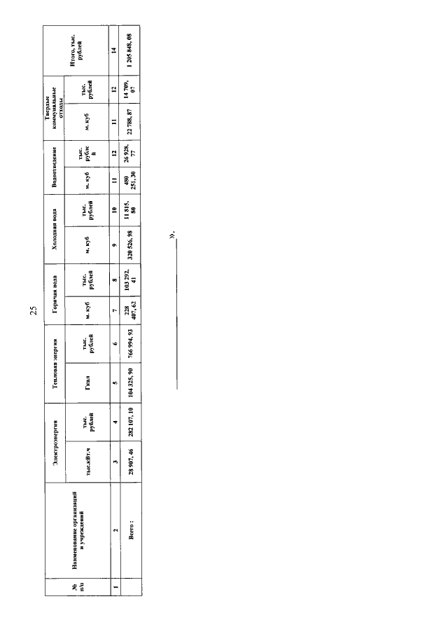
"О внесении изменений в постановление Правительства Магаданской области от 18 апреля 2022 г. № 350-пп "О лимитах потребления электроэнергии, тепловой энергии, горячей и холодной воды, водоотведения и услуги по обращению с твердыми коммунальными отходами на 2022 год и плановый период 2023-2024 годов"
Номер опубликования: 4900202210170011
Дата опубликования: 17.10.2022
Страница №70 из 70:
Увеличить