Официальное опубликование правовых актов
ОФИЦИАЛЬНОЕ ОПУБЛИКОВАНИЕ
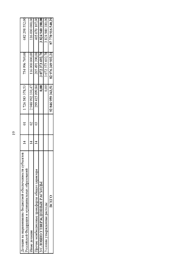
Закон Липецкой области от 18.02.2022 № 63-ОЗ
"О внесении изменений в Закон Липецкой области "Об областном бюджете на 2022 год и на плановый период 2023 и 2024 годов"
Номер опубликования: 4800202202210003
Дата опубликования: 21.02.2022
Страница №19 из 816:
Увеличить