Официальное опубликование правовых актов
ОФИЦИАЛЬНОЕ ОПУБЛИКОВАНИЕ
Приказ Комитета цифрового развития Ленинградской области от 08.09.2020 № 18
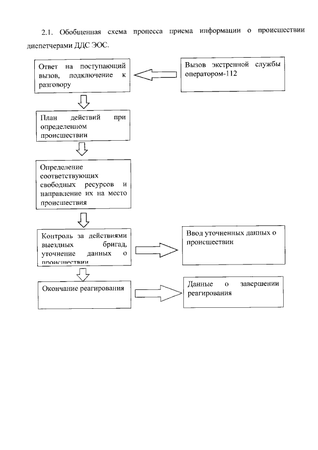
"Об утверждении Регламента информационного взаимодействия при обеспечении вызова экстренных оперативных служб по единому номеру "112" с использованием автоматизированной информационной системы на территории Ленинградской области"
Номер опубликования: 4701202009150001
Дата опубликования: 15.09.2020
Страница №52 из 57:
Увеличить