Официальное опубликование правовых актов
ОФИЦИАЛЬНОЕ ОПУБЛИКОВАНИЕ
Приказ Комитета по культуре Ленинградской области от 24.06.2019 № 01-03/19-326
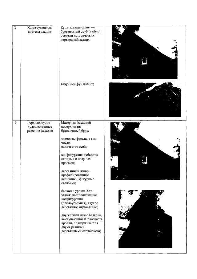
"О включении выявленного объекта культурного наследия "Дом", расположенного по адресу: Ленинградская область, Гатчинский муниципальный район, Дружногорское городское поселение, д. Лампово, ул. Центральная, дом 17, в единый государственный реестр объектов культурного наследия (памятников истории и культуры) народов Российской Федерации в качестве объекта культурного наследия регионального значения, с наименованием "Жилой дом", 1860-1870-е годы, расположенного по адресу: Ленинградская область, Гатчинский муниципальный район, Дружногорское городское поселение, д. Лампово, ул. Центральная, дом 17, утверждении границ его территории и установлении предмета охраны"
Номер опубликования: 4701201907030015
Дата опубликования: 03.07.2019
Страница №9 из 10:
Увеличить