Официальное опубликование правовых актов
ОФИЦИАЛЬНОЕ ОПУБЛИКОВАНИЕ
Приказ Комитета по культуре Ленинградской области от 03.06.2019 № 01-03/19-290
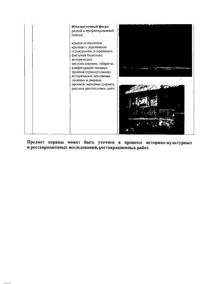
"О включении выявленного объекта культурного наследия "Дом О.В. Ледовских, К.В. Цыганова", начало XX в., расположенного по адресу: Ленинградская область, Гатчинский муниципальный район, Дружногорское городское поселение, д. Лампово, ул. Бертовка, дом 6, в единый государственный реестр объектов культурного наследия (памятников истории и культуры) народов Российской Федерации в качестве объекта культурного наследия регионального значения, утверждении границ его территории и установлении предмета охраны"
Номер опубликования: 4701201906110023
Дата опубликования: 11.06.2019
Страница №10 из 10:
Увеличить