Официальное опубликование правовых актов
ОФИЦИАЛЬНОЕ ОПУБЛИКОВАНИЕ
Приказ Комитета по культуре Ленинградской области от 22.04.2019 № 01-03/19-236
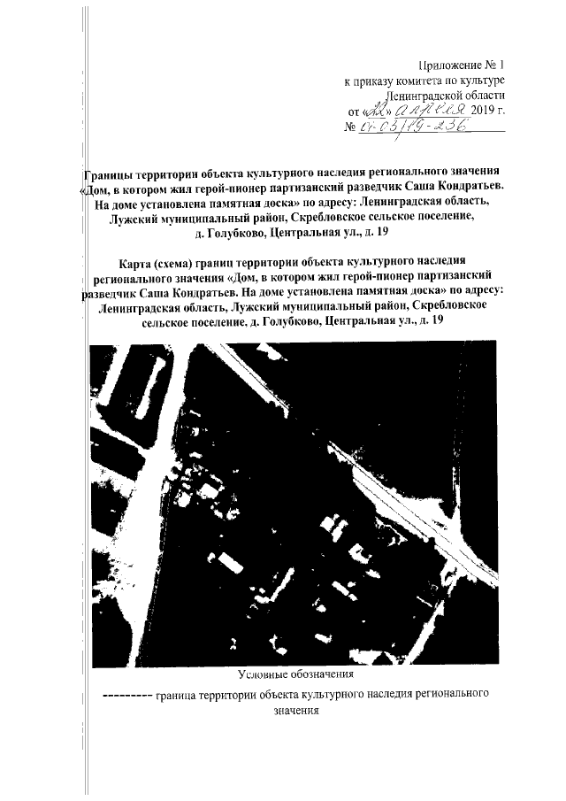
"Об установлении границ территории и предмета охраны объекта культурного наследия регионального значения "Дом, в котором жил герой-пионер партизанский разведчик Саша Кондратьев. На доме установлена памятная доска" по адресу: Ленинградская область, Лужский муниципальный район, Скребловское сельское поселение, д. Голубково, Центральная ул., д. 19"
Номер опубликования: 4701201904300017
Дата опубликования: 30.04.2019
Страница №3 из 6:
Увеличить