Официальное опубликование правовых актов
ОФИЦИАЛЬНОЕ ОПУБЛИКОВАНИЕ
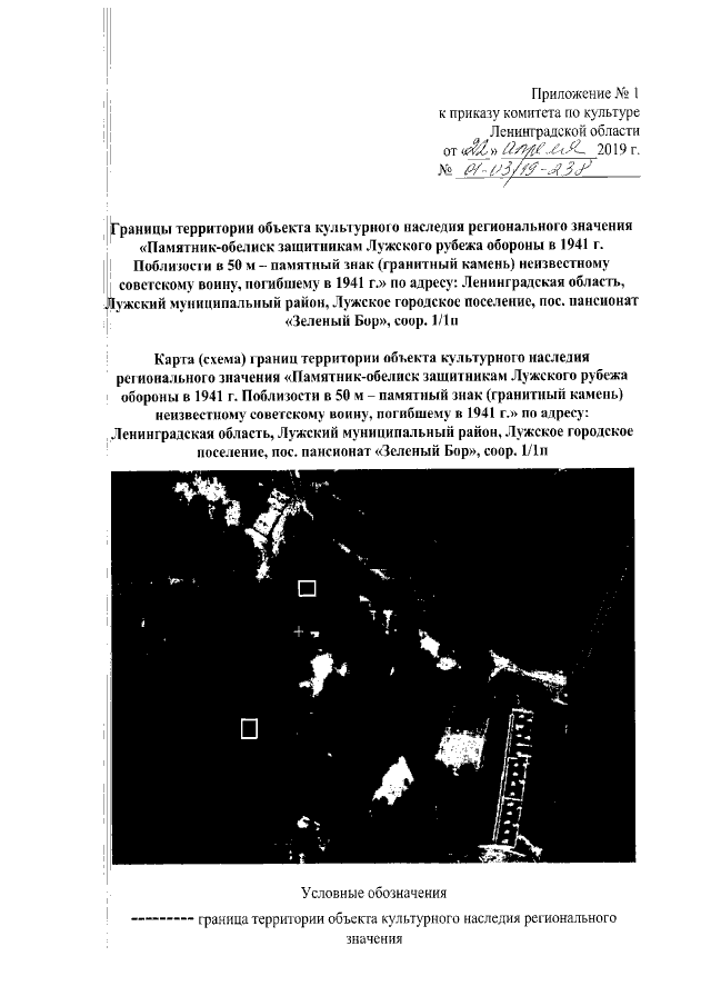
Приказ Комитета по культуре Ленинградской области от 22.04.2019 № 01-03/19-238
"Об установлении границ территории и предмета охраны объекта культурного наследия регионального значения "Памятник-обелиск защитникам Лужского рубежа обороны в 1941 г. Поблизости в 50 м – памятный знак (гранитный камень) неизвестному советскому воину, погибшему в 1941 г." по адресу: Ленинградская область, Лужский муниципальный район, Лужское городское поселение, пос. пансионат "Зеленый Бор", соор. 1/1п"
Номер опубликования: 4701201904300010
Дата опубликования: 30.04.2019
Страница №3 из 8:
Увеличить