Официальное опубликование правовых актов
ОФИЦИАЛЬНОЕ ОПУБЛИКОВАНИЕ
Приказ Комитета по культуре Ленинградской области от 24.12.2018 № 01-03/18-621
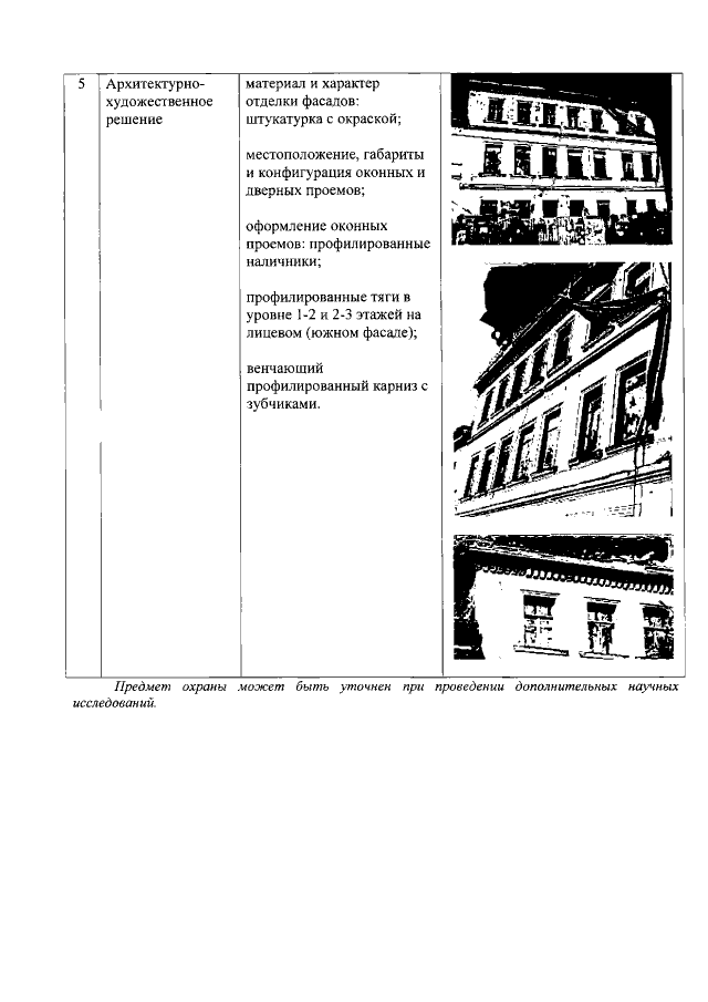
"Об установлении предмета охраны объекта культурного наследия регионального значения "Дом А.И. фон Лейминг" по адресу: Ленинградская область, Кировский муниципальный район, Шлиссельбургское городское поселение, г. Шлиссельбург, Красная площадь, д. 3"
Номер опубликования: 4701201812290160
Дата опубликования: 29.12.2018
Страница №4 из 4:
Увеличить