Официальное опубликование правовых актов
ОФИЦИАЛЬНОЕ ОПУБЛИКОВАНИЕ
Приказ Комитета по культуре Ленинградской области от 20.12.2018 № 01-03/18-523
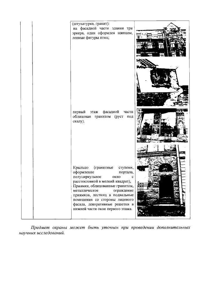
"Об установлении границ территории и предмета охраны объекта культурного наследия регионального значения "Жилой дом" по адресу: Ленинградская область, Выборгский муниципальный район, г. Выборг, пр. Ленинградский, д. 9"
Номер опубликования: 4701201812290133
Дата опубликования: 29.12.2018
Страница №7 из 7:
Увеличить