Официальное опубликование правовых актов
ОФИЦИАЛЬНОЕ ОПУБЛИКОВАНИЕ
Приказ Комитета по культуре Ленинградской области от 24.12.2018 № 01-03/18-618
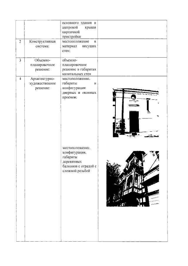
"Об установлении границ территории и предмета охраны объекта культурного наследия регионального значения "Усадьба Мещерских" в составе: "Главный дом", "Ограда с воротами", "Парк" по адресу: Ленинградская область, Волховский район, с. Колчаново, ул. Центральная"
Номер опубликования: 4701201812290001
Дата опубликования: 29.12.2018
Страница №7 из 10:
Увеличить