Официальное опубликование правовых актов
ОФИЦИАЛЬНОЕ ОПУБЛИКОВАНИЕ
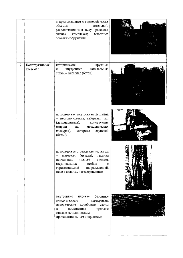
Приказ Комитета по культуре Ленинградской области от 06.12.2018 № 01-03/18-427
"Об установлении границ территории и предмета охраны объекта культурного наследия регионального значения "Бывший форт "Серая Лошадь", сыгравший видную роль в боях за Петроград в 1919 г. и в битве за Ленинград в 1941-44 гг." по адресу: д. Гора Валдай, в 12 км к западу от пос. Лебяжье, в 2-х км к северу от деревни"
Номер опубликования: 4701201812140076
Дата опубликования: 14.12.2018
Страница №18 из 22:
Увеличить