Официальное опубликование правовых актов
ОФИЦИАЛЬНОЕ ОПУБЛИКОВАНИЕ
Приказ Комитета по культуре Ленинградской области от 06.12.2018 № 01-03/18-428
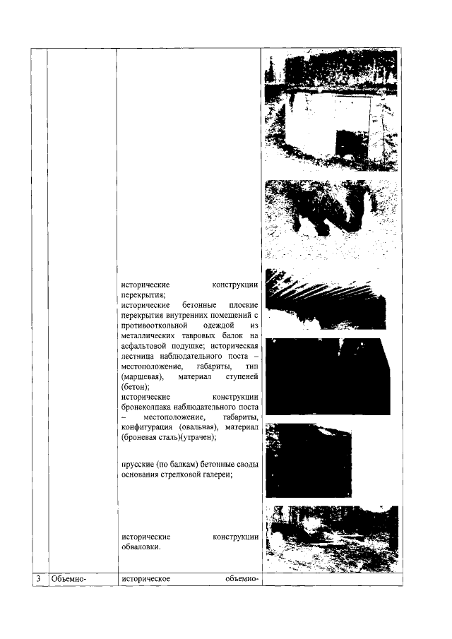
"Об установлении границ территории и предмета охраны объекта культурного наследия регионального значения "Форт "Красная Горка" (Алексеевский)" по адресу: Ленинградская область, Ломоносовский район, южное побережье Финского залива"
Номер опубликования: 4701201812140050
Дата опубликования: 14.12.2018
Страница №79 из 98:
Увеличить