Официальное опубликование правовых актов
ОФИЦИАЛЬНОЕ ОПУБЛИКОВАНИЕ
Приказ Комитета по культуре Ленинградской области от 13.06.2018 № 01-03/18-62
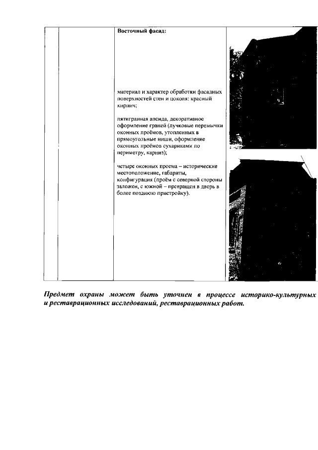
"О включении выявленного объекта культурного наследия "Ильинская церковь", расположенного по адресу: Ленинградская область, пос. Ефимовский, в единый государственный реестр объектов культурного наследия (памятников истории и культуры) народов Российской Федерации в качестве объекта культурного наследия регионального значения, с наименованием "Ильинская церковь" по адресу: Ленинградская область, Бокситогорский район, Ефимовское городское поселение, поселок городского типа Ефимовский, ул. Молодёжная, дом 1А, утверждении границ его территории и установлении предмета охраны"
Номер опубликования: 4701201806150009
Дата опубликования: 15.06.2018
Страница №11 из 11:
Увеличить