Официальное опубликование правовых актов
ОФИЦИАЛЬНОЕ ОПУБЛИКОВАНИЕ
Приказ Министерства культуры Курской области от 19.02.2025 № 05-05/76
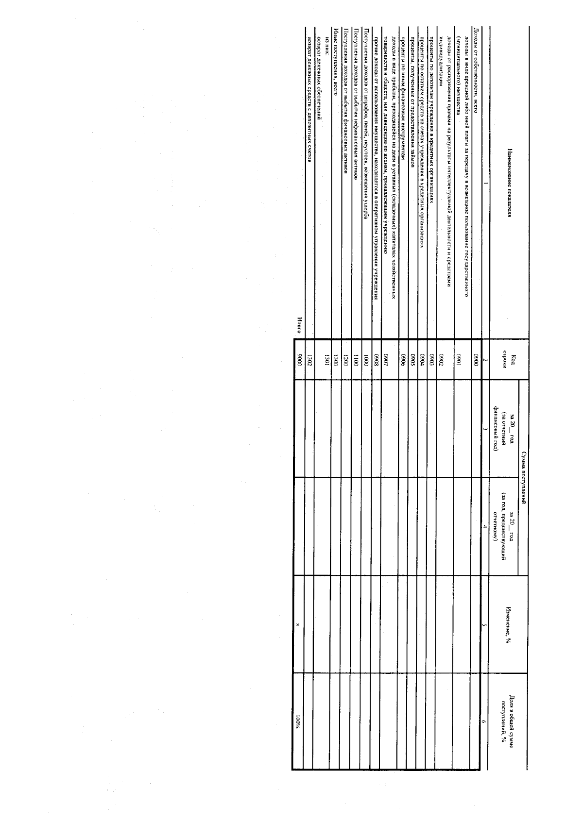
"О внесении изменений в приказ министерства культуры Курской области от 6 апреля 2023 №05-05/204 "Об утверждении порядка составления утверждения отчета о результатах деятельности бюджетного (казенного) учреждения, находящегося в ведении Министерства культуры Курской области, и об использовании закрепленного за ним государственного имущества"
(Зарегистрирован 19.02.2025 № 101.25.08)
Номер опубликования: 4601202502260002
Дата опубликования: 26.02.2025
Страница №5 из 35:
Увеличить