Официальное опубликование правовых актов
ОФИЦИАЛЬНОЕ ОПУБЛИКОВАНИЕ
Постановление Департамента промышленности, транспорта и энергетики Курганской области от 28.02.2019 № 01-05/21
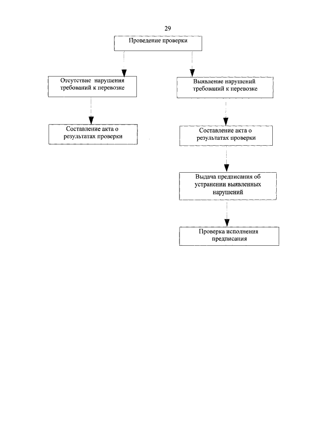
"Об утверждении Административного регламента исполнения Департаментом промышленности, транспорта и энергетики Курганской области государственной функции по осуществлению регионального государственного контроля за соблюдением юридическими лицами и индивидуальными предпринимателями, осуществляющими деятельность по оказанию услуг по перевозке пассажиров и багажа легковым такси, требований к перевозке пассажиров и багажа легковым такси"
Номер опубликования: 4501201903050003
Дата опубликования: 05.03.2019
Страница №29 из 29:
Увеличить