Официальное опубликование правовых актов
ОФИЦИАЛЬНОЕ ОПУБЛИКОВАНИЕ
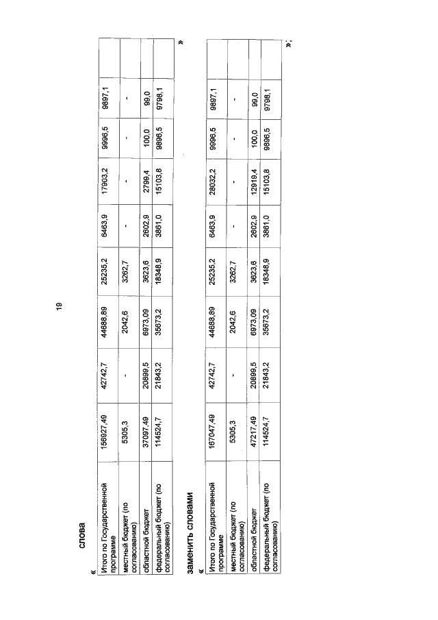
Постановление Правительства Курганской области от 07.09.2020 № 280
"О внесении изменений в постановление Правительства Курганской области от 25 апреля 2016 года № 113"
Номер опубликования: 4500202009090003
Дата опубликования: 09.09.2020
Страница №19 из 24:
Увеличить