Официальное опубликование правовых актов
ОФИЦИАЛЬНОЕ ОПУБЛИКОВАНИЕ
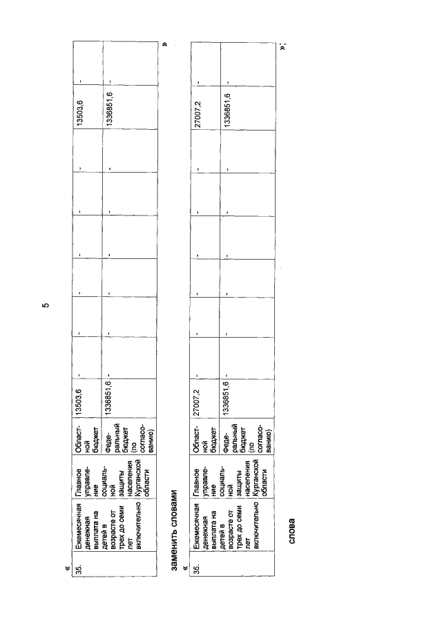
Постановление Правительства Курганской области от 05.06.2020 № 181
"О внесении изменений в постановление Правительства Курганской области от 14 октября 2013 года № 503"
Номер опубликования: 4500202006090005
Дата опубликования: 09.06.2020
Страница №5 из 19:
Увеличить