Приказ Инспекции по охране объектов культурного наследия Костромской области от 23.10.2019 № 138
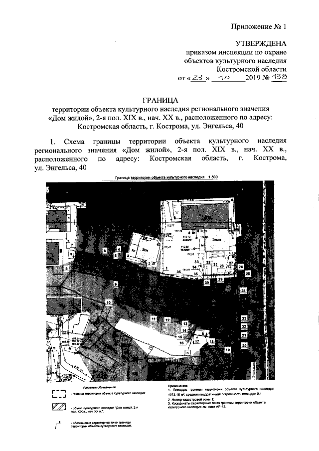
"Об установлении границы и правового режима использования территории объекта культурного наследия регионального значения "Дом жилой", 2-я пол. ХIХ в., нач. ХХ в., расположенного по адресу: Костромская область, г. Кострома, ул. Энгельса, 40"
"Об установлении границы и правового режима использования территории объекта культурного наследия регионального значения "Дом жилой", 2-я пол. ХIХ в., нач. ХХ в., расположенного по адресу: Костромская область, г. Кострома, ул. Энгельса, 40"
Номер опубликования: 4401201910230003
Дата опубликования:
23.10.2019
