Официальное опубликование правовых актов
ОФИЦИАЛЬНОЕ ОПУБЛИКОВАНИЕ
Указ Губернатора Кировской области от 28.04.2018 № 67
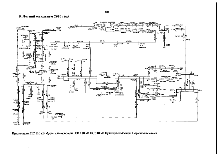
"О Программе развития электроэнергетики Кировской области на 2019 – 2023 годы"
Номер опубликования: 4300201805030004
Дата опубликования: 03.05.2018
Страница №182 из 235:
Увеличить