Официальное опубликование правовых актов
ОФИЦИАЛЬНОЕ ОПУБЛИКОВАНИЕ
Приказ Министерства развития инфраструктуры Калининградской области от 03.06.2019 № 197
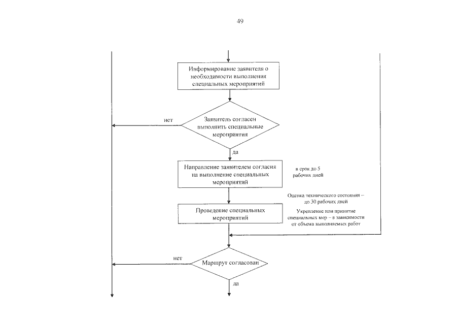
"О внесении изменений в приказ Министерства развития инфраструктуры Калининградской области от 06 марта 2017 года № 37 "Об утверждении административного регламента предоставления Министерством развития инфраструктуры Калининградской области государственной услуги по выдаче специального разрешения на движение по автомобильным дорогам тяжеловесного и (или) крупногабаритного транспортного средства"
Номер опубликования: 3901201906050001
Дата опубликования: 05.06.2019
Страница №50 из 53:
Увеличить