Официальное опубликование правовых актов
ОФИЦИАЛЬНОЕ ОПУБЛИКОВАНИЕ
Приказ Министерства природных ресурсов и экологии Иркутской области от 12.09.2025 № 66-40-мпр
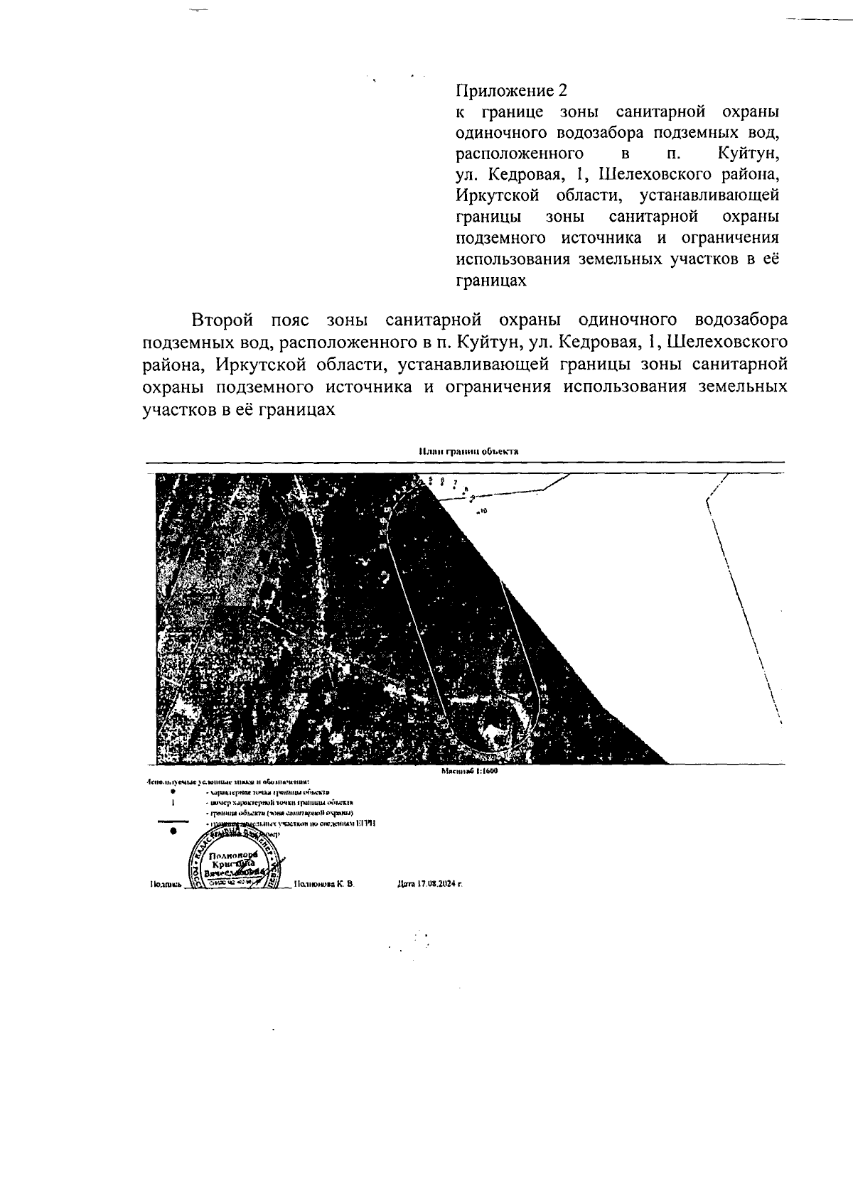
"Об установлении зоны санитарной охраны одиночного водозабора подземных вод, расположенного в п. Куйтун, ул. Кедровая, 1, Шелеховского района, Иркутской области, устанавливающей границы зоны санитарной охраны подземного источника и ограничения использования земельных участков в её границах"
(Зарегистрирован 15.09.2025 № 03-1588/25)
Номер опубликования: 3801202509150003
Дата опубликования: 15.09.2025
Страница №7 из 10:
Увеличить