Официальное опубликование правовых актов
ОФИЦИАЛЬНОЕ ОПУБЛИКОВАНИЕ
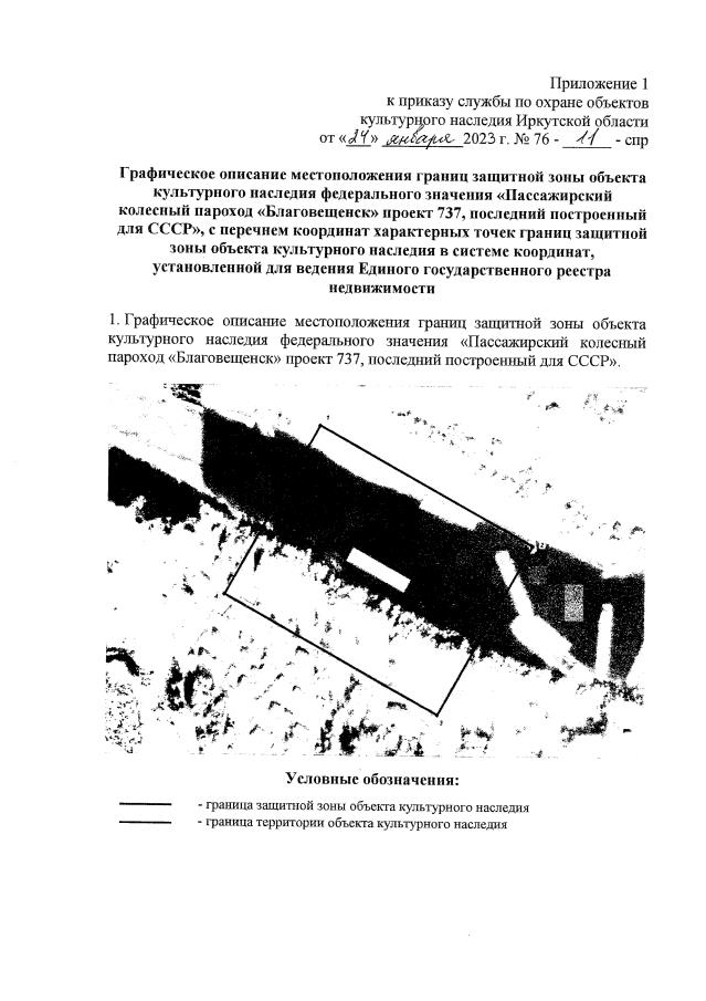
Приказ службы по охране объектов культурного наследия Иркутской области от 24.01.2023 № 76-11-спр
"Об утверждении графического описания местоположения границ защитной зоны, режима использования земель в границах защитной зоны объекта культурного наследия федерального значения "Пассажирский колесный пароход "Благовещенск" проект 737, последний построенный для СССР"
(Зарегистрирован 27.01.2023 № 04-0087/23)
Номер опубликования: 3801202302020005
Дата опубликования: 02.02.2023
Страница №2 из 4:
Увеличить