Официальное опубликование правовых актов
ОФИЦИАЛЬНОЕ ОПУБЛИКОВАНИЕ
Приказ службы по охране объектов культурного наследия Иркутской области от 01.12.2022 № 76-177-спр
"О внесении изменения в приказ службы по охране объектов культурного наследия Иркутской области от 4 марта 2014 года № 17-сп"
Номер опубликования: 3801202212020029
Дата опубликования: 02.12.2022
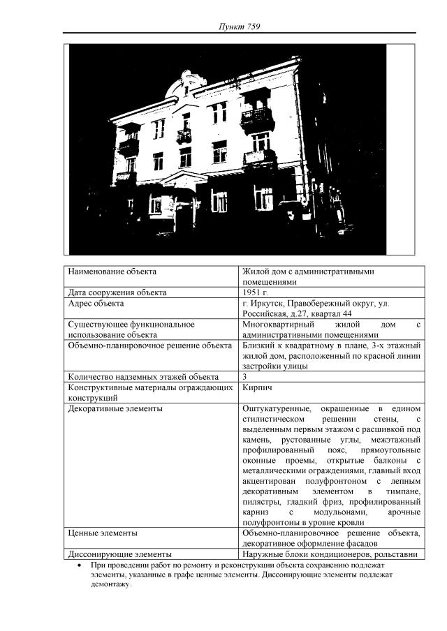
Страница №248 из 275:
Увеличить