Официальное опубликование правовых актов
ОФИЦИАЛЬНОЕ ОПУБЛИКОВАНИЕ
Постановление Правительства Ивановской области от 18.08.2022 № 454-п
"О памятнике природы Ивановской области "Аллея крупнолистной липы на улице Фролова (Бульвар по улице Фролова, Гарелинский бульвар)"
Номер опубликования: 3700202208190035
Дата опубликования: 19.08.2022
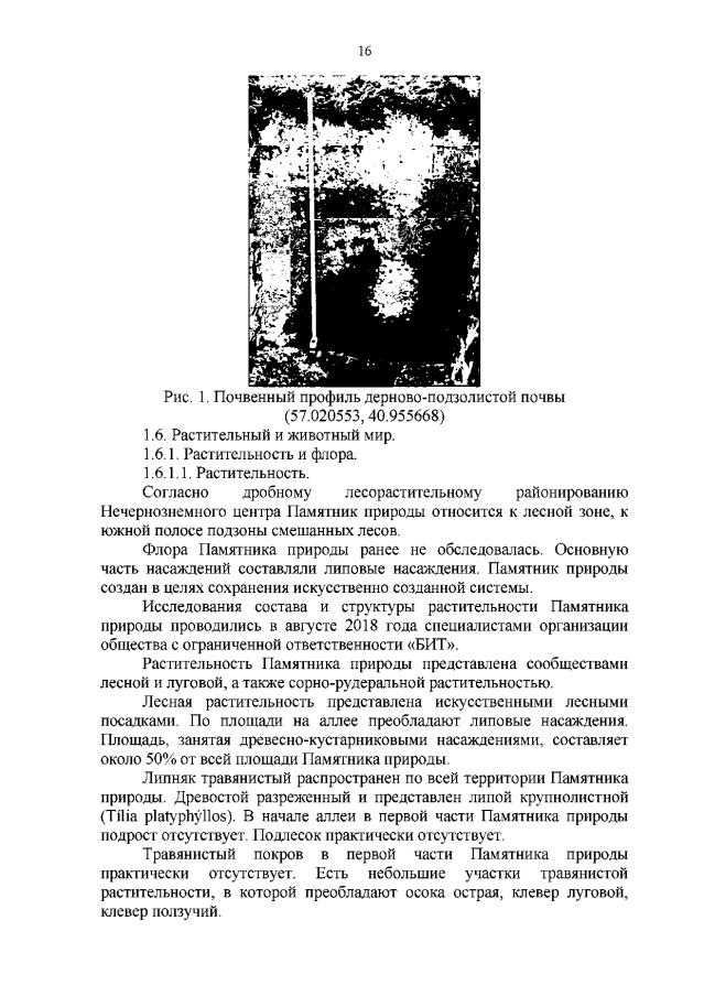
Страница №16 из 19:
Увеличить