Официальное опубликование правовых актов
ОФИЦИАЛЬНОЕ ОПУБЛИКОВАНИЕ
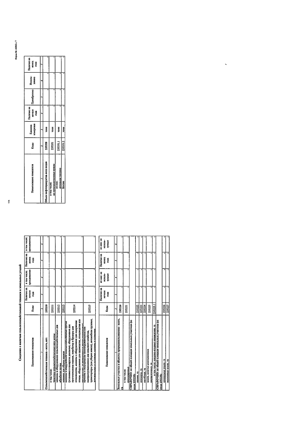
Приказ министерства сельского хозяйства Воронежской области от 12.02.2025 № 60-01-11/10
"Об утверждении формы отчёта о финансово-экономическом состоянии товаропроизводителей агропромышленного комплекса Воронежской области за 2024 год"
(Зарегистрирован 27.02.2025 № 114)
Номер опубликования: 3601202502280003
Дата опубликования: 28.02.2025
Страница №115 из 124:
Увеличить