Официальное опубликование правовых актов
ОФИЦИАЛЬНОЕ ОПУБЛИКОВАНИЕ
Приказ министерства тарифного регулирования Воронежской области от 23.01.2025 № 2/7
"Об установлении долгосрочных параметров регулирования деятельности и тарифов на горячую воду (горячее водоснабжение) для муниципального казенного предприятия "Каменский центр коммунальных услуг", осуществляющего горячее водоснабжение с использованием централизованной системы в границах Каменского городского поселения (система теплоснабжения котельной по адресу: пгт Каменка, ул. Гагарина, д. 20) Каменского муниципального района Воронежской области, на период 2025 - 2027 годов"
(Зарегистрирован 30.01.2025 № 26)
Номер опубликования: 3601202501300008
Дата опубликования: 30.01.2025
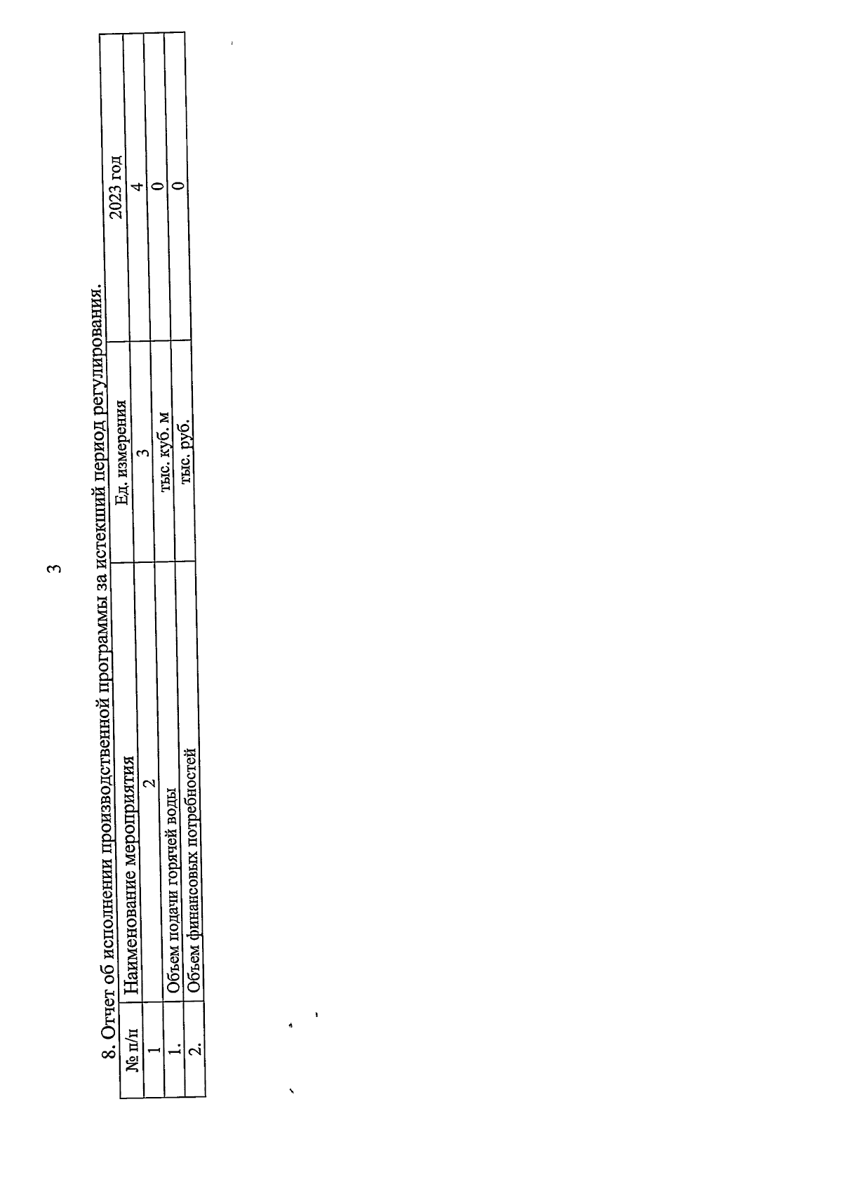
Страница №5 из 7:
Увеличить