Официальное опубликование правовых актов
ОФИЦИАЛЬНОЕ ОПУБЛИКОВАНИЕ
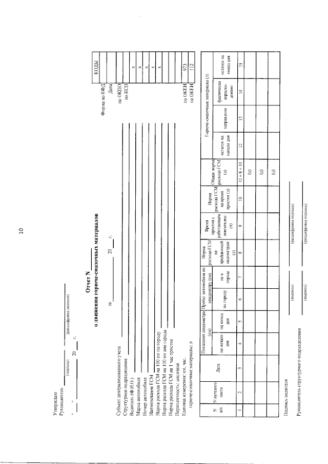
Приказ департамента финансов Воронежской области от 01.06.2023 № 68 «о/н»
"О внесении изменений в приказ департамента финансов Воронежской области от 22.11.2021 № 143 "о/н"
(Зарегистрирован 20.06.2023 № 664)
Номер опубликования: 3601202306210002
Дата опубликования: 21.06.2023
Страница №83 из 403:
Увеличить